CHỦ ĐỀ 1: CẤU TẠO NGUYÊN TỬ
- Giải bài tập sách bài tập (SBT) Hoá hoá 10 Cánh diều bài 2 Thành phần của nguyên tử
- Giải bài tập sách bài tập (SBT) Hoá hoá 10 Cánh diều bài 3 Nguyên tố hóa học
- Giải bài tập sách bài tập (SBT) Hoá hoá 10 Cánh diều bài 4: Mô hình nguyên tử và orbital nguyên tử
- Giải bài tập sách bài tập (SBT) Hoá hoá 10 Cánh diều bài 5 Lớp, phân lớp và cấu hình electron
CHỦ ĐỀ 2: BẢNG TUẦN HOÀN CÁC NGUYÊN TỐ HÓA HỌC
- Giải bài tập sách bài tập (SBT) Hoá hoá 10 Cánh diều bài 6 Cấu tạo của bảng tuần hoàn các nguyên tố hóa học
- Giải bài tập sách bài tập (SBT) Hoá hoá 10 Cánh diều bài 7 Xu hướng biến đổi một số tính chất của đơn chất, biến đổi thành phần và tính chất của hợp chất trong một chu kì và trong một nhóm
- Giải bài tập sách bài tập (SBT) Hoá hoá 10 Cánh diều bài 8 Định luật tuần hoàn và ý nghĩa của bảng tuần hoàn các nguyên tố hóa học
CHỦ ĐỀ 3: LIÊN KẾT HÓA HỌC
- Giải bài tập sách bài tập (SBT) Hoá hoá 10 Cánh diều bài 9 Quy tắc Octet
- Giải bài tập sách bài tập (SBT) Hoá hoá 10 Cánh diều bài 10 Liên kết ion
- Giải bài tập sách bài tập (SBT) Hoá hoá 10 Cánh diều bài 11 Liên kết cộng hóa trị
- Giải bài tập sách bài tập (SBT) Hoá hoá 10 Cánh diều bài 12 Liên kết hydrogen và tương tác Van der Waals
CHỦ ĐỀ 4: PHẢN ỨNG OXI HÓA- KHỬ
CHỦ ĐỀ 5: NĂNG LƯỢNG HÓA HỌC
CHỦ ĐỀ 6: TỐC ĐỘ PHẢN ỨNG HÓA HỌC
CHỦ ĐỀ 7: NGUYÊN TỐ NHÓM VIIA (NHÓM HALOGEN)
Giải bài tập sách bài tập (SBT) Hoá hoá 10 Cánh diều bài 17 Nguyên tố và đơn chất halogen
https://s.shopee.vn/AKN2JyAJAw
Hướng dẫn giải bài 17: Nguyên tố và đơn chất halogen
Trang 56 của sách bài tập Hoá học 10 chứa bài tập về nguyên tố và đơn chất halogen. Đây là một phần trong bộ sách "Cánh diều" được biên soạn theo chương trình đổi mới của Bộ giáo dục. Mục tiêu của bài tập này là giúp học sinh hiểu rõ hơn về nguyên tố và đơn chất halogen thông qua cách hướng dẫn cụ thể và giải chi tiết. Mong rằng, với sự hỗ trợ này, học sinh sẽ nắm bắt bài học một cách dễ dàng và hiệu quả hơn.
Bài tập và hướng dẫn giải
17.1. Phát biểu nào sau đây không đúng khi nói về nguyên tử các nguyên tố nhóm VIIA?
A. Có 7 electron hóa trị.
B. Theo chiều tăng dần của điện tích hạt nhân nguyên tử thì độ âm điện giảm.
C. Theo chiều tăng dần điện tích hạt nhân nguyên tử thì khả năng hút cặp electron liên kết giảm.
D. Theo chiều tăng dần điện tích hạt nhân nguyên tử thì bán kính nguyên tử giảm.
17.2. a) Điền tên và kí hiệu các nguyên tố halogen bền vào vị trí các nguyên tố A, B, C, D bên dưới. Biết mỗi vòng tròn minh họa cho một nguyên tử với tỉ lệ kích thước tương ứng.

Điền tên và kí hiệu các nguyên tố halogen bền vào vị trí các nguyên tố A, B, C, D bên dưới
b) Viết công thức phân tử đơn chất của mỗi nguyên tố tương ứng.
c) Ở điều kiện nhiệt độ, áp suất thông thường, các đơn chất này tồn tại ở trạng thái nào? Từ đó, dự đoán thứ tự tăng nhiệt độ nóng chảy, nhiệt độ sôi tương ứng giữa chúng trong cùng điều kiện áp suất.
17.3. Nguyên nhân dẫn đến nhiệt độ nóng chảy, nhiệt độ sôi của các đơn chất halogen tăng từ fluorine đến iodine là do từ fluorine đến iodine,
A. khối lượng phân tử và tương tác van der Waals đều tăng.
B. tính phi kim giảm và tương tác van der Waals tăng.
C. khối lượng phân tử tăng và tương tác van der Waals giảm.
D. độ âm điện và tương tác van der Waals đều giảm.
17.4. Phát biểu nào sau đây là không đúng khi nói về đơn chất nhóm VIIA?
A. Tính chất đặc trưng là tính oxi hoá.
B. Màu sắc đậm dần từ fuorine đến iodine.
C. Từ fluorine đến bromine rồi iodine, trạng thái của các đơn chất chuyển từ khí đến lỏng rồi rắn.
D. Khả năng phản ứng với nước tăng từ fluorine đến iodine.
17.5. Những phát biểu nào sau đây là đúng khi nói về tính chất và phản ứng của đơn chất nhóm VIIA?
A. Tính oxi hoá giảm dần từ fluorine đến iodine.
B. Phản ứng với nhiều kim loại, tạo thành hợp chất ion. Phản ứng với một số phi kim, tạo thành hợp chất cộng hoá trị.
C. Khi phản ứng với đơn chất hydrogen, các đơn chất nhóm VIIA thể hiện tính khử.
D. Khi phản ứng với đơn chất hydrogen, mức độ phản ứng giảm dần từ fluorine đến iodine.
17.6. Nối mỗi chất trong cột A với những tính chất tương ứng của chúng trong cột B.
| Cột A | Cột B |
| a) Chlorine, Cl2 | 1. Hầu như không tan trong nước. |
| b) Iodine, I2 | 2. Là chất khí ở điều kiện thường. |
| 3. Là chất rắn ở điều kiện thường. | |
| 4. Là chất oxi hoá khi phản ứng với kim loại. | |
| 5. Có độc tính cao. | |
| 6. Có tương tác van der Waals mạnh nhất trong nhóm đơn chất halogen. | |
| 7. Dùng để xử lí nước sinh hoạt. |
17.7. Những phát biểu nào sau đây là đúng khi nói về phản ứng của đơn chất halogen với hydrogen?
A. Các phản ứng đều phát nhiệt mạnh và kèm hiện tượng nổ.
B. Phản ứng giữa fluorine với hydrogen diễn ra mãnh liệt nhất.
C. Điều kiện và mức độ phản ứng phù hợp với xu hướng giảm dần tính oxi hóa từ fluorine đến iodine.
D. Do hợp chất hydrogen iodide sinh ra kém bền (giá trị năng lượng liên kết nhỏ) nên phản ứng giữa iodine với hydrogen là phản ứng hai chiều.
17.8. Những phát biểu nào sau đây là đúng khi nói về phản ứng của đơn chất nhóm VIIA với nước?
A. Các đơn chất nhóm VIIA vừa thể hiện tính oxi hoá, vừa thể hiện tính khử; mức độ phản ứng giảm dần từ fluorine đến iodine.
B. Fluorine phản ứng rất mạnh với nước tạo dung dịch có tính oxi hoá mạnh, có thể dùng để sát khuẩn.
C. Phản ứng của bromine hoặc chlorine với nước đều là phản ứng thuận nghịch.
D. Iodine tan rất ít và hầu như không phản ứng với nước.
17.9. Phát biểu nào sau đây là không đúng khi nói về phản ứng của đơn chất nhóm VIIA với dung dịch muối halide?
A. Bromine phản ứng dễ dàng với dung dịch sodium fluoride để tạo ra đơn chất fluorine.
B. Khi cho vào dung dịch sodium chloride, fluorine sẽ ưu tiên phản ứng với nước.
C. Có thể sục khí chlorine vào dung dịch chứa potassium iodide để thu được iodine.
D. Iodine khó tan trong dung dịch sodium chloride.
17.10. Phát biểu nào sau đây là không đúng khi nói về một số ứng dụng của đơn chất chlorine?
A. Khí chlorine có thể được dùng để tạo môi trường sát khuẩn cho nguồn nước cấp.
B. Khí chlorine phản ứng với dung dịch sodium hydroxide tạo dung dịch nước Javel dùng để sát khuẩn trong công nghiệp và trong gia đình.
C. Khí chlorine được sử dụng để sản xuất hydrogen chloride, từ đó tạo hydrochloric acid.
D. Do có độc tính, khí chlorine được sử dụng để trừ sâu trong nông nghiệp.
17.11. Những phát biểu nào sau đây là đúng?
A. Đơn chất chlorine có tính oxi hóa mạnh hơn đơn chất bromine và iodine.
B. Tương tác van der Waals của các đơn chất halogen tăng từ fluorine đến iodine đã góp phần làm tăng nhiệt độ sôi của chúng.
C. Thành phần của nước bromine gồm các chất: Br2, H2O, HBr, HBrO.
D. Hóa trị phổ biến của nguyên tố halogen là 1.
E. Đơn chất iodine phản ứng được với nước và với dung dịch sodium bromide.
17.12. Nhúng giấy quỳ vào dung dịch nước chlorine thì thấy giấy quỳ chuyển sang màu đỏ. Nhưng ngay sau đó, màu đỏ trên giấy quỳ sẽ biến mất. Hãy giải thích hiện tượng này.
17.13. Ở các đô thị, khi thay nước cho các bồn nuôi cá cảnh, người ta không cho trực tiếp nước sinh hoạt (nước máy) vào bồn cá. Nước này phải được chứa trong xô, thau, chậu khoảng một ngày rồi mới được cho vào bồn nuôi cá. Hãy giải thích.
17.14*. Để bảo đảm vệ sinh, nước ở các hồ bơi thường xuyên được xử lý bằng hoá chất. Hãy tìm hiểu và cho biết:
a) Các hoá chất nào thường được sử dụng để xử lí vi khuẩn có trong nước hồ bơi?
b) Nhờ đâu mà các hoá chất ấy giúp xử lý vi khuẩn có trong nước hồ bơi?
c) Để bảo đảm an toàn cho người bơi trong hồ, cần lưu ý gì khi sử dụng các hoá chất ấy?
17.15. Thổi một lượng khí chlorine vào dung dịch chứa m gam hai muối bromide của sodium và potassium. Sau khi phản ứng xảy ra hoàn toàn, cô cạn dung dịch, khối lượng chất rắn thu được giảm 4,45 gam so với lượng muối trong dung dịch ban đầu. Chọn phát biểu đúng về số mol khí chlorine đã tham gia phản ứng với các muối trên.
A. 0,10 mol. B. Ít hơn 0,06 mol.
C. Nhiều hơn 0,12 mol. D. 0,07 mol.
17.16. a) Trong công nghiệp, xút (sodium hydroxide) được sản xuất bằng phương pháp điện phân dung dịch sodium chloride có màng ngăn xốp. Bằng phương pháp này, người ta cũng thu được khí chlorine (sơ đồ minh hoạ). Chất khí này được làm khô (loại hơi nước) rồi hoá lỏng để làm nguyên liệu quan trọng cho nhiều ngành công nghiệp chế biến và sản xuất hoá chất. Theo em, chất nào sau đây phù hợp để làm khô khí chlorine?
A. Sulfuric acid 98%.
B. Sodium hydroxide khan.
C. Calcium oxide khan.
D. Dung dịch sodium chloride bão hòa.

b) Từ quá trình điện phân nêu trên, một lượng chlorine và hydrogen sinh ra được tận dụng để sản xuất hydrochloric acid đặc thương phẩm (32%, D = 1,153 g mL-1 ở 30oC).
Một nhà máy với quy mô sản xuất 200 tấn xút mỗi ngày thì đồng thời sản xuất được bao nhiêu m3 acid thương phẩm trên. Biết rằng, tại nhà máy này, 60% khối lượng chlorine sinh ra được dùng tổng hợp hydrochloric acid và hiệu suất của toàn bộ quá trình từ chlorine đến acid thương phẩm đạt 80% về khối lượng.
17.17. Iodine là chất rắn, ít tan trong nước, nhưng lại tan khá dễ dàng trong dung dịch potassium iodide là do phản ứng sau:
I2 (s) + KI (aq) → KI3 (aq)
Vai trò của KI trong phản ứng trên là gì?
A. Chất oxi hóa.
B. Chất khử.
C. Vừa là chất oxi hóa, vừa là chất khử.
D. Không phải là chất oxi hóa cũng không phải là chất khử.
17.18. Calcium chloride hypochlorite (CaOCl2) thường được dùng làm chất khử trùng bể bơi do có tính oxi hóa mạnh tương tự nước Javel. Tìm hiểu thêm về công thức cấu tạo của CaOCl2, từ đó, biết được số oxi hóa của nguyên tử chlorine trong hợp chất trên là
A. +1 và -1. B. -1. C. 0 và -1. D. 0.
17.19. Xét các phản ứng:
X2(g)+H2(g)→2HX(g) $\Delta _{r}H_{298}^{o}$(*)
với X lần lượt là Cl, Br, I.
Giá trị năng lượng liên kết (kJ mol-1) một số chất được cho trong Phụ lục 2, sách giáo khoa (SGK) hóa học lớp 10, Cánh Diều.
a) Hãy tính biến thiên enthalpy chuẩn của mỗi phản ứng (*).
b) Hãy sắp xếp các phản ứng (*) theo thứ tự giảm dần của nhiệt lượng tỏa ra.
17.20.Từ bảng giá trị năng lượng liên kết (kJ mol-1) dưới đây:
| F - F | H - H | O2 | H - F | O - H |
| 159 | 436 | 498 | 565 | 464 |
Hãy cho biết:
a) Liên kết nào bền nhất, liên kết nào kém bền nhất?
b) Giá trị biến thiên enthalpy chuẩn của hai phản ứng sau là bao nhiêu?
F2 (g) + H2 (g) → 2HF (g) (1)
O2 (g) + 2H2(g) → 2H2O(g) (2)
c) Trong hai phản ứng (1) và (2), phản ứng nào tỏa nhiệt nhiều hơn?
17.21. Người ta thường tách bromine trong rong biển bằng quá trình sục khí chlorine vào dung dịch chiết chứa ion bromide. Phương trình hóa học của phản ứng có thể được mô tả dạng thu gọn như sau:
2Br-(aq) + Cl2(aq) → 2Cl-(aq) + Br2(aq)
Cho các số liệu enthalpy tạo thành chuẩn $\Delta _{f}H_{298}^{o}$ trong bảng dưới đây:
Br- (aq) | Cl- (aq) | Br2(aq) | Cl2(aq) |
-121,55 | -167,16 | -2,16 | -17,30 |
a) Tính biến thiên enthalpy chuẩn phản ứng trên.
b) Phản ứng trên có thuận lợi về năng lượng không?
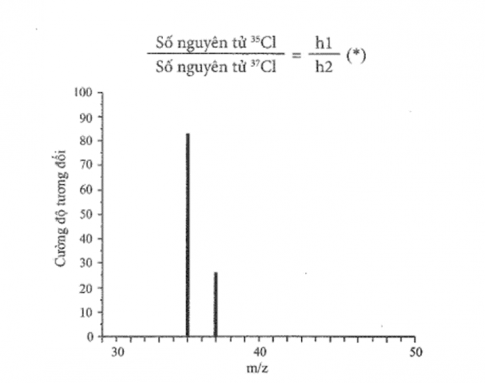
17.22. Hình sau đây là một phần phổ khối lượng của chlorine. Phổ này có hai tín hiệu, là hai đường thẳng xuất phát từ tọa độ 35 và 37 trên trục hoành. Nhờ đó, người ta biết được nguyên tố chlorine có hai đồng vị bền là 35Cl và 37Cl.
Tỉ lệ số nguyên tử của hai đồng vị cũng là tỉ lệ độ cao h1 và h2 (hay tỉ lệ cường độ tương đối) của hai tín hiệu:

a) Dùng thước (độ chia nhỏ nhất là mm) để đo h1 và h2. Từ đó tính tỉ lệ h1 : h2.
b) Số nguyên tử đồng vị 35Cl gấp bao nhiêu lần số nguyên tử đồng vị 37Cl?
c) Xác định phần trăm số nguyên tử của mỗi đồng vị?
d) Xác định nguyên tử khối trung bình của chlorine.
Giải bài tập sách giáo khoa (SGK) 10 Kết nối tri thức
- Soạn văn lớp 10 tập 1 kết nối tri thức
- Soạn văn lớp 10 tập 2 kết nối tri thức
- Văn mẫu lớp 10 kết nối tri thức
- Giải bài tập toán lớp 10 tập 1 kết nối tri thức
- Giải bài tập toán lớp 10 tập 2 kết nối tri thức
- Giải bài tập vật lí lớp 10 kết nối tri thức
- Giải bài tập hóa học lớp 10 kết nối tri thức
- Giải bài tập sinh học lớp 10 kết nối tri thức
- Giải bài tập Địa lí lớp 10 kết nối tri thức
- Giải bài tập lịch sử lớp 10 kết nối tri thức
- Giải bài tập tin học lớp 10 kết nối tri thức
- Giải bài tập Âm nhạc lớp 10 kết nối tri thức
- Giải bài tập mĩ thuật lớp 10 kết nối tri thức
- Giải bài tập giáo dục kinh tế pháp luật lớp 10 kết nối tri thức
- Giải bài tập giáo dục quốc phòng an ninh lớp 10 kết nối tri thức
- Giải bài tập hoạt động trải nghiệm lớp 10 kết nối tri thức
- Giải bài tập thiết kế công nghệ lớp 10 kết nối tri thức
- Giải bài tập công nghệ trồng trọt lớp 10 kết nối tri thức
- Giải bài tập giáo dục thể chất lớp 10 kết nối tri thức
- Giải bài tập tiếng anh lớp 10 Global Success
Giải bài tập sách giáo khoa (SGK) 10 Chân trời sáng tạo
- Soạn văn lớp 10 tập 1 chân trời sáng tạo
- Soạn văn lớp 10 tập 2 chân trời sáng tạo
- Văn mẫu lớp 10 chân trời sáng tạo
- Giải bài tập toán lớp 10 tập 1 chân trời sáng tạo
- Giải bài tập toán lớp 10 tập 2 chân trời sáng tạo
- Giải bài tập vật lí lớp 10 chân trời sáng tạo
- Giải bài tập hóa học lớp 10 chân trời sáng tạo
- Giải bài tập sinh học lớp 10 chân trời sáng tạo
- Giải bài tập Địa lí lớp 10 chân trời sáng tạo
- Giải bài tập lịch sử lớp 10 chân trời sáng tạo
- Giải bài tập tin học lớp 10 chân trời sáng tạo
- Giải bài tập Âm nhạc lớp 10 chân trời sáng tạo
- Giải bài tập mĩ thuật lớp 10 chân trời sáng tạo
- Giải bài tập giáo dục kinh tế pháp luật lớp 10 chân trời sáng tạo
- Giải bài tập Hoạt động trải nghiệm, hướng nghiệp lớp 10 chân trời sáng tạo bản 1
- Giải bài tập Hoạt động trải nghiệm, hướng nghiệp lớp 10 chân trời sáng tạo bản 2
- Giải bài tập giáo dục quốc phòng an ninh lớp 10 chân trời sáng tạo
- Giải bài tập thiết kế công nghệ lớp 10 chân trời sáng tạo
- Giải bài tập công nghệ trồng trọt lớp 10 chân trời sáng tạo
- Giải bài tập giáo dục thể chất lớp 10 chân trời sáng tạo
- Giải bài tập tiếng anh lớp 10 Friends Global
Giải bài tập sách giáo khoa (SGK) 10 Cánh diều
- Soạn văn lớp 10 tập 1 cánh diều
- Soạn văn lớp 10 tập 2 cánh diều
- Văn mẫu lớp 10 cánh diều
- Giải bài tập toán lớp 10 tập 1 cánh diều
- Giải bài tập toán lớp 10 tập 2 cánh diều
- Giải bài tập vật lí lớp 10 cánh diều
- Giải bài tập hóa học lớp 10 cánh diều
- Giải bài tập sinh học lớp 10 cánh diều
- Giải bài tập Địa lí lớp 10 cánh diều
- Giải bài tập lịch sử lớp 10 cánh diều
- Giải bài tập tin học lớp 10 cánh diều
- Giải bài tập Âm nhạc lớp 10 cánh diều
- Giải bài tập mĩ thuật lớp 10 cánh diều
- Giải bài tập giáo dục kinh tế pháp luật lớp 10 cánh diều
- Giải bài tập giáo dục quốc phòng an ninh lớp 10 cánh diều
- Giải bài tập hoạt động trải nghiệm lớp 10 cánh diều
- Giải bài tập thiết kế công nghệ lớp 10 cánh diều
- Giải bài tập công nghệ trồng trọt lớp 10 cánh diều
- Giải bài tập giáo dục thể chất lớp 10 cánh diều
- Giải bài tập tiếng anh lớp 10 Explore new worlds
Giải bài tập sách bài tập (SBT) lớp 10 kết nối tri thức
- Giải bài tập sách bài tập (SBT) ngữ văn lớp 10 tập 1 kết nối tri thức
- Giải bài tập sách bài tập (SBT) ngữ văn lớp 10 tập 2 kết nối tri thức
- Giải bài tập sách bài tập (SBT) toán lớp 10 tập 1 kết nối tri thức
- Giải bài tập sách bài tập (SBT) toán lớp 10 tập 2 kết nối tri thức
- Giải bài tập sách bài tập (SBT) hóa học lớp 10 kết nối tri thức
- Giải bài tập sách bài tập (SBT) sinh học lớp 10 kết nối tri thức
- Giải bài tập sách bài tập (SBT) vật lí lớp 10 kết nối tri thức
- Giải bài tập sách bài tập (SBT) lịch sử lớp 10 kết nối tri thức
- Giải bài tập sách bài tập (SBT) địa lí lớp 10 kết nối tri thức
- Giải bài tập sách bài tập (SBT) tin học lớp 10 kết nối tri thức
- Giải bài tập sách bài tập (SBT) giáo dục kinh tế pháp luật lớp 10 kết nối tri thức
- Giải bài tập sách bài tập (SBT) giáo dục quốc phòng và an ninh lớp 10 kết nối tri thức
- Giải bài tập sách bài tập (SBT) hoạt động trải nghiệm lớp 10 kết nối tri thức
- Giải bài tập sách bài tập (SBT) tiếng anh lớp 10 Global success
Giải bài tập sách bài tập (SBT) lớp 10 chân trời sáng tạo
- Giải bài tập sách bài tập (SBT) ngữ văn lớp 10 tập 1 chân trời sáng tạo
- Giải bài tập sách bài tập (SBT) ngữ văn lớp 10 tập 2 chân trời sáng tạo
- Giải bài tập sách bài tập (SBT) toán lớp 10 tập 1 chân trời sáng tạo
- Giải bài tập sách bài tập (SBT) toán lớp 10 tập 2 chân trời sáng tạo
- Giải bài tập sách bài tập (SBT) hóa học lớp 10 chân trời sáng tạo
- Giải bài tập sách bài tập (SBT) sinh học lớp 10 chân trời sáng tạo
- Giải bài tập sách bài tập (SBT) vật lí lớp 10 chân trời sáng tạo
- Giải bài tập sách bài tập (SBT) lịch sử lớp 10 chân trời sáng tạo
- Giải bài tập sách bài tập (SBT) địa lí lớp 10 chân trời sáng tạo
- Giải bài tập sách bài tập (SBT) giáo dục kinh tế pháp luật lớp 10 chân trời sáng tạo
- Giải bài tập sách bài tập (SBT) giáo dục quốc phòng và an ninh lớp 10 chân trời sáng tạo
- Giải bài tập sách bài tập (SBT) hoạt động trải nghiệm lớp 10 chân trời sáng tạo bản 1
- Giải bài tập sách bài tập (SBT) hoạt động trải nghiệm lớp 10 chân trời sáng tạo bản 2
- Giải bài tập sách bài tập (SBT) tiếng anh lớp 10 Friends Global
Giải bài tập sách bài tập (SBT) lớp 10 Cánh diều
- Giải bài tập sách bài tập (SBT) ngữ văn lớp 10 tập 1 cánh diều
- Giải bài tập sách bài tập (SBT) ngữ văn lớp 10 tập 2 cánh diều
- Giải bài tập sách bài tập (SBT) toán lớp 10 tập 1 cánh diều
- Giải bài tập sách bài tập (SBT) toán lớp 10 tập 2 cánh diều
- Giải bài tập sách bài tập (SBT) hóa học lớp 10 cánh diều
- Giải bài tập sách bài tập (SBT) sinh học lớp 10 cánh diều
- Giải bài tập sách bài tập (SBT) vật lí lớp 10 cánh diều
- Giải bài tập sách bài tập (SBT) lịch sử lớp 10 cánh diều
- Giải bài tập sách bài tập (SBT) địa lí lớp 10 cánh diều
- Giải bài tập sách bài tập (SBT) tin học lớp 10 cánh diều
- Giải bài tập sách bài tập (SBT) giáo dục kinh tế pháp luật lớp 10 cánh diều
- Giải bài tập sách bài tập (SBT) hoạt động trải nghiệm lớp 10 cánh diều
- Giải bài tập sách bài tập (SBT) giáo dục quốc phòng và an ninh lớp 10 cánh diều
- Giải bài tập sách bài tập (SBT) tiếng anh lớp 10 Explore new world
Giải bài tập chuyên đề học tập 10 Kết nối tri thức
- Giải bài tập chuyên đề toán lớp 10 kết nối tri thức
- Giải bài tập chuyên đề ngữ văn lớp 10 kết nối tri thức
- Giải bài tập chuyên đề vật lí lớp 10 kết nối tri thức
- Giải bài tập chuyên đề hóa học lớp 10 kết nối tri thức
- Giải bài tập chuyên đề sinh học lớp 10 kết nối tri thức
- Giải bài tập chuyên đề lịch sử lớp 10 kết nối tri thức
- Giải bài tập chuyên đề địa lí lớp 10 kết nối tri thức
- Giải bài tập chuyên đề công nghệ trồng trọt lớp 10 kết nối tri thức
- Giải bài tập chuyên đề giáo dục kinh tế và pháp luật lớp 10 kết nối tri thức
- Giải bài tập chuyên đề tin học lớp 10 theo định hướng tin học ứng dụng kết nối tri thức
- Giải bài tập chuyên đề tin học lớp 10 theo định hướng khoa học máy tính kết nối tri thức
- Giải bài tập chuyên đề mĩ thuật lớp 10 kết nối tri thức
Giải bài tập chuyên đề học tập 10 Chân trời sáng tạo
- Giải bài tập chuyên đề toán lớp 10 chân trời sáng tạo
- Giải bài tập chuyên đề ngữ văn lớp 10 chân trời sáng tạo
- Giải bài tập chuyên đề vật lí lớp 10 chân trời sáng tạo
- Giải bài tập chuyên đề hóa học lớp 10 chân trời sáng tạo
- Giải bài tập chuyên đề sinh học lớp 10 chân trời sáng tạo
- Giải bài tập chuyên đề địa lí lớp 10 chân trời sáng tạo
- Giải bài tập chuyên đề lịch sử lớp 10 chân trời sáng tạo
- Giải bài tập chuyên đề giáo dục kinh tế và pháp luật lớp 10 chân trời sáng tạo
- Giải bài tập chuyên đề âm nhạc lớp 10 chân trời sáng tạo
Giải bài tập chuyên đề học tập 10 Cánh diều
- Giải bài tập chuyên đề toán lớp 10 cánh diều
- Giải bài tập chuyên đề ngữ văn lớp 10 cánh diều
- Giải bài tập chuyên đề vật lí lớp 10 cánh diều
- Giải bài tập chuyên đề hóa học lớp 10 cánh diều
- Giải bài tập chuyên đề sinh học lớp 10 cánh diều
- Giải bài tập chuyên đề địa lí lớp 10 cánh diều
- Giải bài tập chuyên đề lịch sử lớp 10 cánh diều
- Giải bài tập chuyên đề công nghệ trồng trọt lớp 10 cánh diều
- Giải bài tập chuyên đề giáo dục kinh tế và pháp luật lớp 10 cánh diều
- Giải bài tập chuyên đề tin học lớp 10 theo định hướng tin học ứng dụng cánh diều
- Giải bài tập chuyên đề tin học lớp 10 theo định hướng khoa học máy tính cánh diều
- Giải bài tập chuyên đề âm nhạc lớp 10 cánh diều